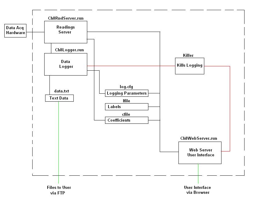
Channel 8 Architecture